奇奇怪怪的泵型,百度也没找到多少相关资料,具体用途不详,奇怪的点在于叶轮出口和蜗壳出口不在同一水平,那么叶轮中甩出的中介不就直接撞到蜗壳内壁面了么,不懂不懂!
经群友交流(感谢@姜汤面老哥指导)此泵学名为:旋流泵
旋流泵多用于抽送复杂介质或含杂质流体,如含垃圾、短纤维物质或粪便的两相流体。旋流泵亦称无堵塞泵,耐磨性能好!
一、泵型简介
模型名称:旋流泵 格式:STP

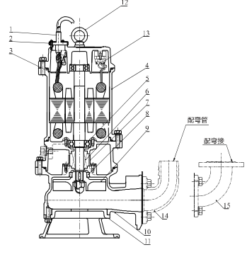
二、图片展示


从上图可清晰看到叶轮出口与蜗壳出口没对齐,不知是装配问题还是原理就是如此。

叶片为直叶片。


可以看到此叶轮背面添加了背叶片,由此可以判断此叶轮的旋向,从进口看为逆时针方向旋转!因为背叶片的原理也是靠工作面推水,用于减小叶轮背面的圆盘摩擦损失,降低泵后腔的液体压力,平衡轴向力!
加背叶片后,背叶片随着叶轮旋转,并强迫带动液体旋转,使液体的旋转角度比没有背叶片时的大。由流体力学得知。此时作用在叶片后盖板上的液体的部分压力水头转化成为速度水头,从而使后泵腔的液体压力值得到下降,于是,作用在叶轮上的轴向力得到部分平衡。
离心泵背叶片外径是背叶片结构一个重要的参数,离心泵的效率随着背叶片外径的增加而下降,轴向力随着背叶片外径的增大而减小,而扬程先上升后下降,当外径增大某一个值时,离心泵内会产生与原来轴向力方向相反的负轴向力,应尽量避免!


单从泵进口也可以根据蜗壳出口来判断叶轮的旋向。
三、旋流泵基本知识
旋流泵的主要结构特征是叶轮退缩在压水室后面的泵腔内,叶轮旋转时在叶轮前面的无叶腔内形成贯通流和循环流。贯通流通过叶轮叶片间流道进入泵室而流出,循环流则在无叶腔内循环。由于循环流中部是低压区,固体颗粒掉入此区域在旋流的带动下流出,因此大部分固态物质可不经过叶轮而直接从无叶腔流出。基于旋流泵结构形式和流动与传统泵有很大差别,因而旋流泵有以下特点:
- 结构简单,容易制造,运行平稳。
- 叶轮和泵体无配合间隙,不存在磨损使间隙增大造成性能下降的问题
- 因固体颗粒大部分不通过叶轮,因而无堵塞性能好,叶轮磨损也相应减轻。
- 输送的物质大部分在无叶腔的旋流带动下流出,因而无损性差,即对物质的破坏作用大。
- 可以输送含气体的液体。
- 由于存在循环流,造成很大的水力损失,泵的效率低,绝大部分泵效率都在60%以下,而且当比转速n>170和n≤80时泵的效率明显下降。



三、下载地址
下滑下载!

免责声明
泵小丫收集资源均来自网络
仅用于内部交流之用,如有需要请支持正版





旋流泵本来就是这样不对齐的,形成的腔体叫做无叶腔,在输送含有杂质的流体时可以防止缠绕和堵塞
?
谢谢分享?
?